Autor:Site Editor veröffentlichen Zeit: 2026-04-23 Herkunft:Powered
Die Gestaltung des Spurkranzes und des Laufflächenprofils eines Eisenbahnrads spielt eine entscheidende Rolle bei der Gewährleistung eines sicheren und effizienten Zugbetriebs. Eine gut abgestimmte Rad-Schiene-Kontaktgeometrie reduziert nicht nur Verschleiß und Belastung, sondern verbessert auch die allgemeine Fahrstabilität und das Kurvenverhalten.
Bei der Gestaltung des Radlaufflächenprofils ist unbedingt auf eine gute Kompatibilität mit der Schienenkopfform zu achten. Eine ideale Rad-Schiene-Schnittstelle kann die Kontaktspannung effektiv reduzieren und den Verschleiß minimieren, was direkt dazu beiträgt:
· Verbesserte Leistung beim Durchfahren von Kurven.
· Reduzierte Wartungshäufigkeit und -kosten.
· Erhöhte kritische Geschwindigkeit für die Zugstabilität
Darüber hinaus sollte das neu gestaltete Laufflächenprofil dem Abnutzungsprofil unter realen Betriebsbedingungen möglichst nahe kommen. Dies trägt dazu bei, den Metallabtrag beim Reprofilieren zu reduzieren, wodurch die Lebensdauer der Räder verlängert und die Wartungskosten gesenkt werden.

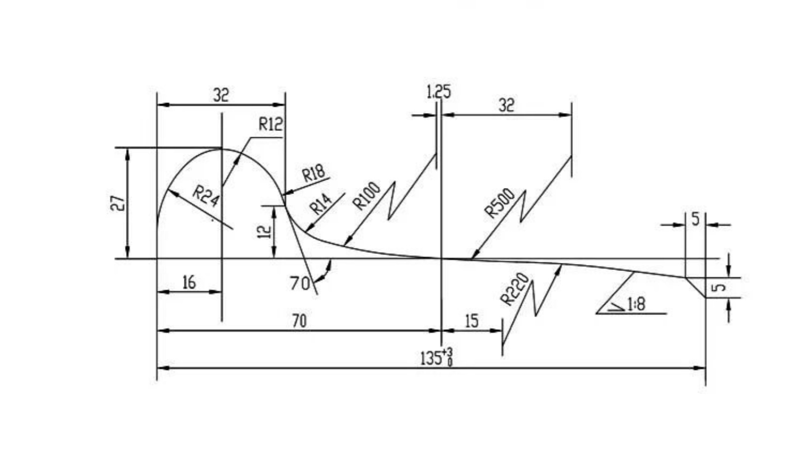
Der Flansch ist ein wichtiges Sicherheitsmerkmal, das eine Entgleisung verhindert. Seine Höhe und Geometrie müssen sorgfältig kontrolliert werden:
· Flanschhöhe: Liegt typischerweise zwischen 26 mm und 30 mm
· Zu niedrig: Erhöht das Entgleisungsrisiko
· Zu hoch: Kann zu Störungen an Schienenkomponenten wie Laschenschrauben oder Schultern führen, insbesondere wenn der Profilverschleiß erheblich ist
Für einen sicheren Durchgang durch Weichen erfordern kleinere Raddurchmesser in der Regel höhere Spurkranzhöhen.
Auch der Flanschwinkel ist entscheidend. Die Außenfläche des Flansches muss einen geeigneten Winkel zur horizontalen Ebene einhalten:
· Zu kleiner Winkel: Höheres Risiko des Radkletterns (Entgleisen bei niedrigen Geschwindigkeiten).
· Zu großer Winkel: Erhöht den Bearbeitungsabtrag beim Reprofilieren und kann bei Anstellwinkelbedingungen zu Kontakt zwischen Flanschoberseite und Schiene führen

Das Profilprofil wird in erster Linie durch die Gleisverhältnisse und die Betriebsgeschwindigkeit des Zugs bestimmt und nicht durch die Strukturkonstruktion des Rads. Wenn es keine wesentlichen Änderungen an der Gleisinfrastruktur oder der Betriebsgeschwindigkeit gibt, bleibt das Profilprofil in der Regel unverändert – selbst wenn die Radstruktur geändert wird.
In den meisten Fällen werden standardisierte Profilprofile übernommen, um die Kompatibilität und Zuverlässigkeit aller Eisenbahnsysteme sicherzustellen.
Die Gestaltung von Spurkranz- und Laufflächenprofilen für Eisenbahnräder ist ein wichtiger Aspekt der Sicherheit und Leistung von Zügen. Durch die Optimierung der Rad-Schiene-Interaktion, die Steuerung der Flanschabmessungen und die Anpassung des Profildesigns an reale Betriebsbedingungen können Bahnbetreiber die betriebliche Effizienz deutlich steigern, den Verschleiß reduzieren und die allgemeine Sicherheit verbessern.